Ngay từ đầu, Surface Phone (còn được gọi Andromeda) đã gặp trắc trở, tưởng chừng không thể vượt qua. Tuy vậy, giới hâm mộ vẫn hy vọng một ngày nào đó Microsoft sẽ hoàn thành giấc mơ này.
|
|
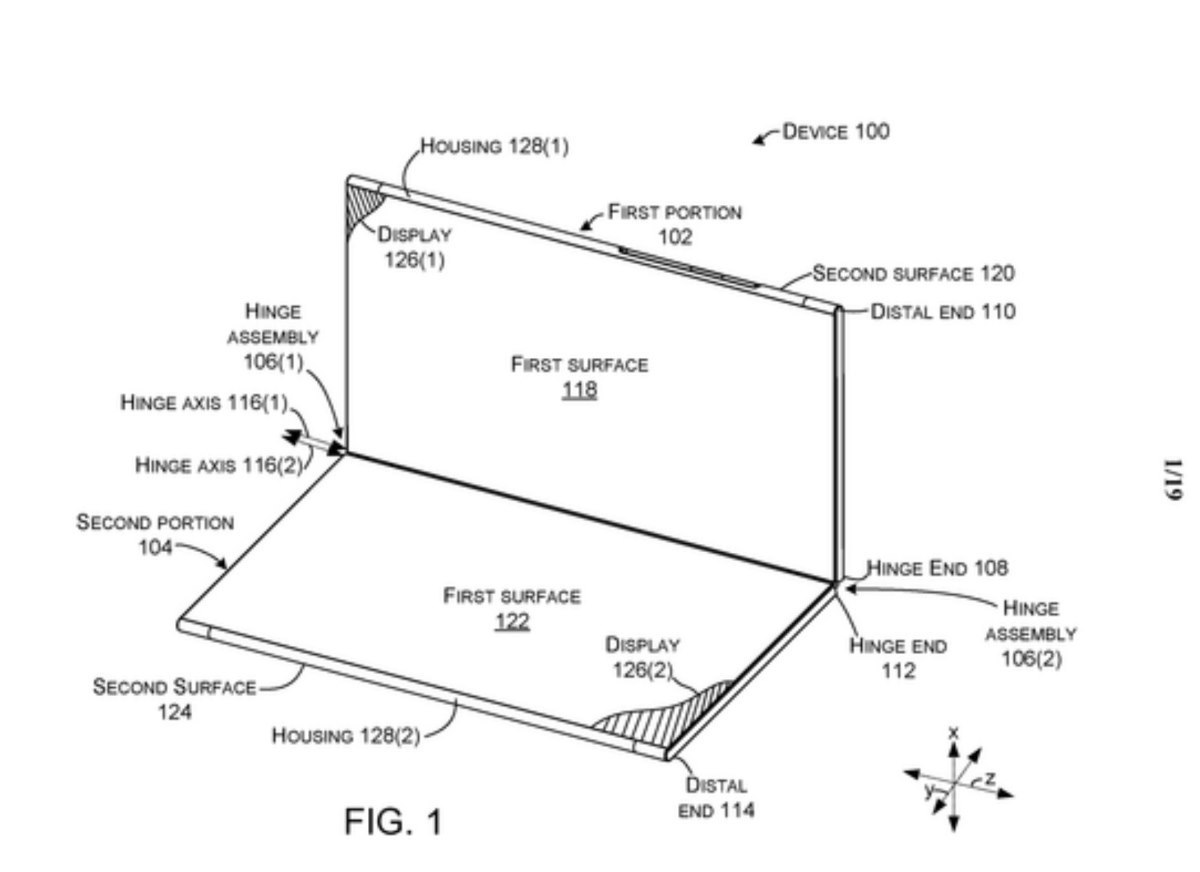
| Bằng sáng chế của Microsoft về điện thoại gập |
Trên phương diện kỹ thuật, Surface Phone mang thiết kế màn hình kép cho phép chuyển đổi dễ dàng từ hình dạng này sang hình dạng khác.
Nói cách khác, Surface Phone có thể là laptop hay tablet tùy vào chiều và góc màn hình. Đương nhiên, nó có thể là một chiếc smartphone nếu Microsoft muốn.
![]() |
Dựa trên cơ cấu bản lề của Surface Phone trong sáng chế mới nhất, khả năng cao sản phẩm này sẽ là nền tảng đa thiết bị.
Sáng chế mới của Microsoft không nhắc tới công nghệ cũng như hướng tiếp cận để sản xuất thiết bị. Giới hâm mộ hy vọng Surface Phone sẽ xuất hiện trong năm nay, nhiều khả năng vào mùa thu.
Nguyễn Minh (theo Softpedia)

Samsung sẽ cung cấp màn hình gập cho iPhone, iPad?
Nhiều bằng sáng chế gần đây xuất hiện cho thấy Apple cũng đang phát triển iPhone màn hình gập giống như Galaxy Fold của Samsung. Đặc biệt, mẫu iPhone này có thể sử dụng màn hình từ đối thủ Samsung.

